
Viglen SX220 User Guide 47
CAUTION!
Carefully route cables to minimise airflow blockage and cooling problems.
Suggested Tape Drive Cabling
A peripheral power cable (4-pin connector) is included in the cable output from the
power supply.
Route and connect to the tape drive before the SCSI cable is installed.
Connecting to the On-board SCSI Controller
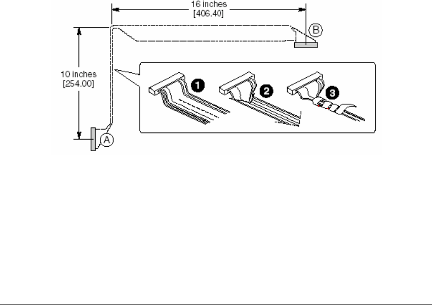
1. Obtain a SCSI cable with an unfolded length of 26-inches.
2. Flatten the cable and fold it in half beginning about 1-inch from the tape drive end
(see Figure 29, A). Continue folding for a distance of about 10-inches.
3. Fold the cable in half again and secure with electrical tape.
4. Connect the cable to the tape drive (see Figure 30, A) and carefully route the
folded and taped section on the chassis floor between the fan assembly (C) and
the tape drive (A).
5. Connect the cable to the on-board SCSI controller at connector (B).
Because the on-board SCSI controller is now unavailable, you will need to install a
PCI add-in card that provides RAID or SCSI control and connect it to the backplane.
Figure 29: SCSI Cable Length Required
Komentarze do niniejszej Instrukcji